此组别内的文章

需要支持?

如果通过文档没办法解决您的问题,请提交工单获取我们的支持!

操作栏 – CRM

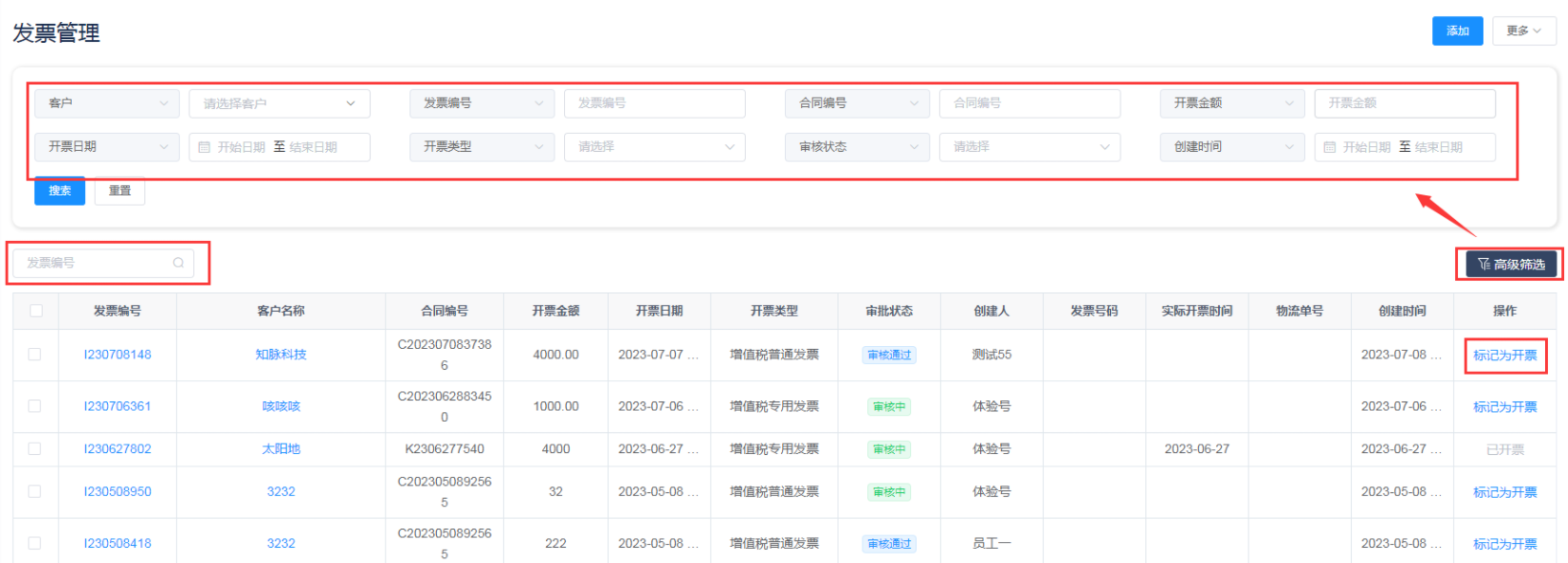
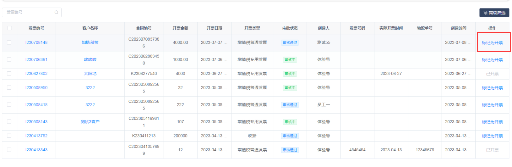
标记开票

标记为开票:在开票之后,填写发票号码、实际开票日期和物流单号即可,随后自动切换为已开票状态。

操作栏 - CRM

操作栏 - CRM

搜索

可以通过搜索发票编号进行筛选查看,或者通过高级筛选进行搜索。

操作栏 - CRM

删除

可以进行批量的删除

操作栏 - CRM

发票详细

可以看到发票的基本信息以及审批历史

操作栏 - CRM

 

0 条回复 A文章作者 M管理员
    暂无讨论,说说你的看法吧
个人中心
购物车
优惠劵
今日签到
有新私信 私信列表
搜索