发票开具是指法律、法规的规定在何种情况下开具发票,基于证明商品和资金所有权转移的需要、进行会计核算的需要和进行税收管理的需要,发票应在发生经营业务确认营业收入时由收款方向付款方开具,特殊情况下,由付款方向收款方开具。
针对开具发票的管理,CRM系统的开票申请模块,直接与客户模块和合同模块建立关联关系,同时可以直接将客户的合同信息同步到开票申请模块,方便企业使用,同时避免人员信息传递之间的错误。
新建发票
新建发票
①客户名称:点击显示“客户管理”版块所有客户列表,选择目标客户即可,同时该客户信息将自动同步到新建发票页面需要填写的发票信息。
②合同编号:根据①客户名称的选择,自动显示该客户下的所有合同。
发票名称:可根据发票产品信息自定义填写。
③合同金额:该处将自动关联所选合同中的金额数目,不可编辑。
④开票金额:该处将自动关联所选合同中的金额数目,支持编辑。
⑤发票信息:填写客户具体信息即可。

①邮寄信息:根据客户名称的选择,自动显示该客户的姓名、联系方式与邮寄地址。
②审核信息:可根据公司组织架构选择上级审批人,审批流程由管理员在后台配置。不选择则无法保存草稿或提交。
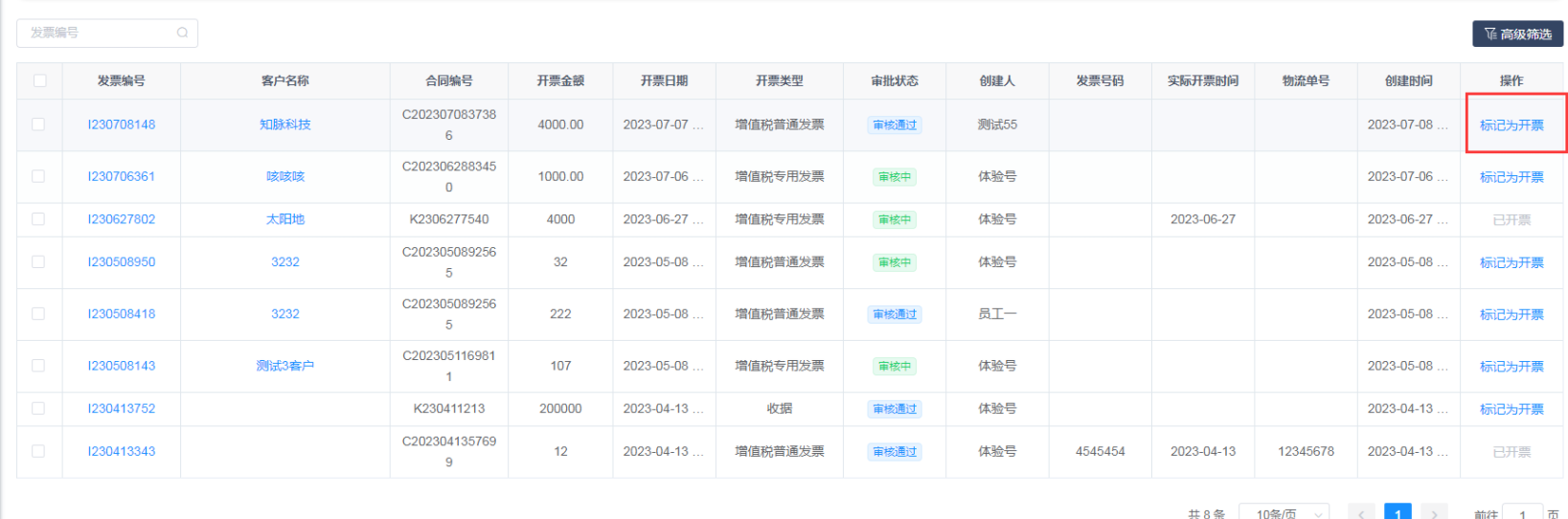
操作栏
标记开票
标记为开票:在开票之后,填写发票号码、实际开票日期和物流单号即可,随后自动切换为已开票状态。


搜索
可以通过搜索发票编号进行筛选查看,或者通过高级筛选进行搜索。

删除
可以进行批量的删除

发票详细
可以看到发票的基本信息以及审批历史








