文章
评论
关注
粉丝
私信列表所有往来私信
财富管理余额、积分管理
推广中心推广有奖励
任务中心每日任务
认证服务申请认证
小黑屋关进小黑屋的人
我的设置编辑个人资料
进入后台管理
19篇
11篇
7篇
6篇
13篇
15篇
8篇
5篇
44篇
1篇
如果通过文档没办法解决您的问题,请提交工单获取我们的支持!
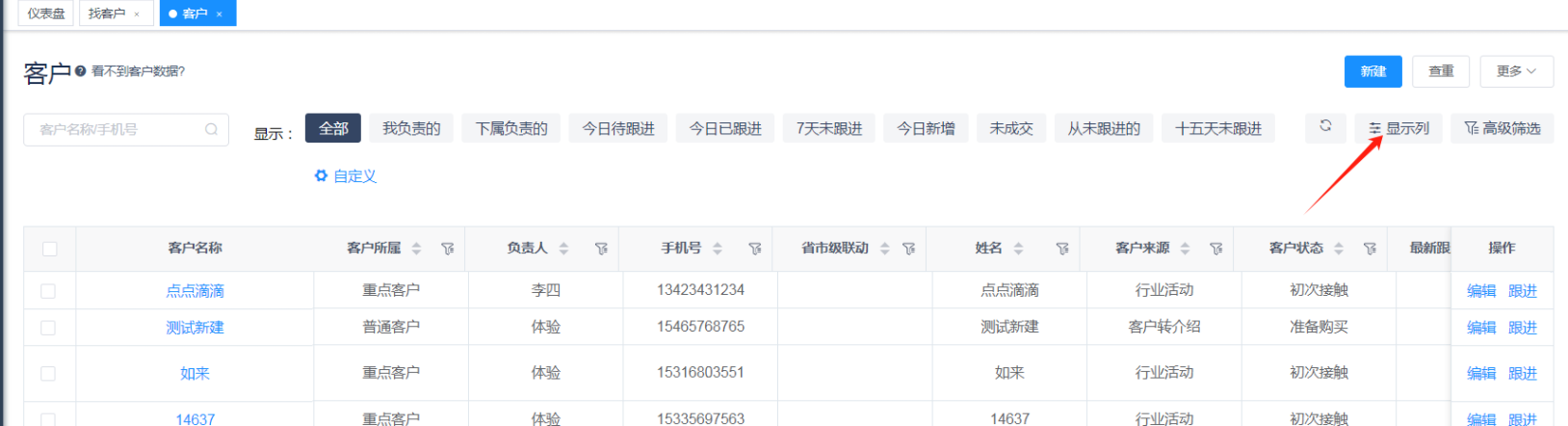
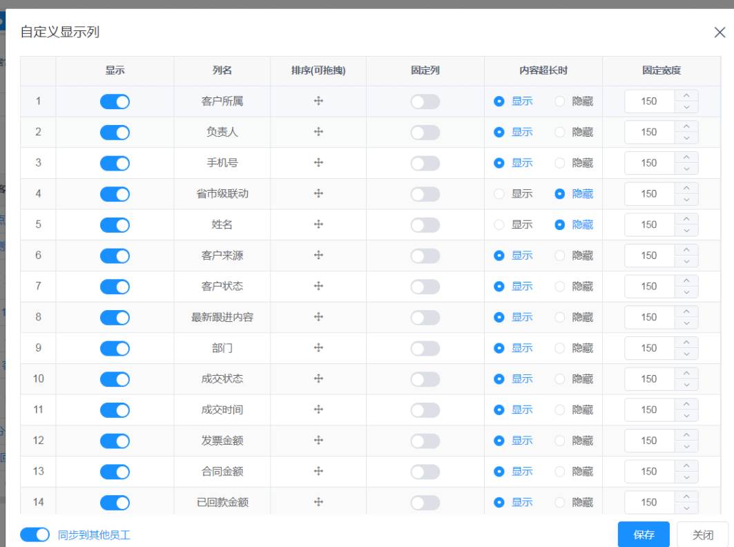
自定义显示列:可以控制客户列表显示隐藏,拖动排序,及列表宽度等
是否同步员工:开启后只有管理员可以配置搜索项,员工同步管理员的配置,未开启则员工可以自己配置。
今日签到
连续签到
之前
未认证