客户指在销售过程中可能成交的企业。CRM助力销售全流程,通过对客户初始信息、跟进过程、 关联商机、合同等的全流程管理,与客户建立紧密的联系, 帮助销售统筹规划每一步,赢得强有力的竞争力优势。打开客户管理页面后默认出现所有已添加的客户信息,首次使用的用户点击新建客户添加企业相关信息即可。

1.新建客户
1.1客户字段设计
新建客户可由管理员在客户管理->客户->新建进行自定义配置,字段属性包括标识名(如客户手机号可改为联系人手机号等)、是否必填(比如客户来源设为必填后,在新建客户时,未选择客户来源则无法保存该客户信息)、是否唯一(比如客户手机号选项设置为唯一后,则不能出现重复的客户手机号,若未设置,则可重复)、是否隐藏(比如客户手机号选项设置隐藏后,在新建客户时不显示该字段)、列表是否显示(比如客户手机号选项设置列表显示后,在客户列表及搜索框中会显示该字段)等。


1.2转联系人字段
在新建客户时,设置了转联系人字段后,若输入客户姓名和手机号会自动同步到联系人管理中对应的联系人姓名和手机号,否则不自动同步联系人,这个客户下的联系人需要单独新建。

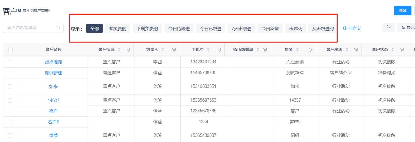
2.客户列表
列表头部字段 每个字段可按照各自的条件筛选数据

3.客户搜索
3.1客户搜索
在搜索框输入想要查找的客户名称/手机/电话等信息,若需要其他条件信息点击筛选设置可配置搜索项,符合条件的客户信息则展示在下方的客户列表中。

3.2搜索字段显示
在客户管理->客户->新建,选中对应的字段,设置列表显示,勾选后会在客户列表及搜索中显示。


4.客户场景

客户场景栏:
全部客户:当前系统用户作为负责人的客户与当前系统用户作为团队成员的客户。
我负责的客户:当前系统用户作为负责人的客户,客户的创建人默认为该客户的负责人,若需更改,可在客户列表中选中该客户,点击“转移”进行负责人变更。移除后用户可将已选中的客户,点击转移,变更负责人,同时可选择将原负责人“移出”或者“转为团队成员”,移出后将没有权限看到关于该客户的任何信息,而转为团队成员后,可对其“权限”进行选择,只读权限下支持查看详细资料和查看跟进记录;读写状态下支持编辑和查看详细资料、添加和查看跟进记录。
下属负责的客户:在企业组织架构中为当前系统用户的下属作为负责人的客户,若负责人有多个下属,则显示所有下属所负责的所有客户。

同步到其他员工:开启后只有管理员可以配置搜索项,员工同步管理员的配置,未开启则员工可以自己配置。
场景自定义 可排列场景顺序,可控制场景的显示与隐藏,可根据自己的条件来创建场景
(案例:15天未跟进:只显示十五天未跟进的数据)

5.自定义显示列


自定义显示列:可以控制客户列表显示隐藏,拖动排序,及列表宽度等
是否同步员工:开启后只有管理员可以配置搜索项,员工同步管理员的配置,未开启则员工可以自己配置。
6.操作栏
6.1查重
用户选择手机号或者客户名称进行精准查重,若此客户用户有权限查看,可显示完整手机号;否则手机号进行脱敏显示。
6.2转移
用户可将已选中的客户,点击转移,变更负责人,同时可选择将原负责人“移出”或者“转为团队成员”,移出后将没有权限看到关于该客户的任何信息,而转为团队成员后,可对其“权限”进行选择,只读权限下支持查看详细资料、添加和查看跟进记录;读写状态下支持编辑和查看详细资料、添加和查看跟进记录。如果该客户下关联的有联系人、商机或合同,则该客户及其关联的联系人、商机和合同 一并更新到新的负责人处。

6.3放入公海
公海指整个企业的一个共有的客户池,其中客户来源于两部分:首先是用户主动选中客户放入公海供其他用户认领。其次是一些客户因满足一定的公海规则自动掉入公海。
第一种情况:用户可在自己的客户管理界面选中目标客户点击放入公海按钮即可。
第二种情况:管理员配置公海规则,比如7天内未跟进的客户自动掉入公海,其所拥有的客户如果在7天内没有跟进,则自动进入公海,供其他员工认领。
用户将选中的客户放入公海后,该客户将不再由目前用户负责,客户公海池成员可根据公海规则自行领取。非公海成员则不显示该公海池。
6.4导入
数据导入,为了确保数据导入的成功率,请先下载《客户导入模板》,按照模板整理客户信息格式,随后进行导入。
点击下载客户导入模板:点击后下载《客户导入模板》,按照模板整理客户信息格式
导入模板:导入模板中的负责人需为当前系统中已录入的员工,导入后客户自动更新至该关联员工的客户管理板块。若无对应员工,则无法导入该条数据。



6.5导出选中
选中客户点击导出选中后,您可选择有关该客户的信息与导出的文件类型。点击“立即导出”则可下载至本地。
6.6删除
选中客户即可删除该客户数据信息,删除后的客户信息可以系统管理->客户管理->回收站进行还原。
6.7发送邮件
选中客户即可向该客户发送邮件,邮件的模板可以在系统管理->通知管理->邮箱模板管理里面设置。


6.8发送短信
选中客户即可向该客户发送短信,短信的模板可以在系统管理->通知管理->短信模板管理里面设置。

7.联系人

与该客户关联的联系人信息会体现在此处。点击联系人姓名可查看该联系人详情。当该客户只有一个联系人时则默认该联系人为首要联系人。
7.1新建联系人
新建联系人选择对应客户,若表单字段不满足可自定义表单字段。

8.团队成员

可在该客户下:添加团队成员、编辑已有成员权限、移除成员(除客户负责人外)。添加团队成员后,设置只读权限后,该成员只能查看该客户的基本信息,但不可编辑此客户。若设置读写权限后,该成员不仅可以查看此客户信息,同时可编辑客户信息。







