合同详情
①编辑:该部分合同信息为新建合同时所添加,可点击右上角“编辑”对合同信息进行修改。
合同作废:用户可将无效记录的合同作废,作废后系统统计销售信息时不会对其统计。已作废合同的详情页面左上角显示“已作废”,可对其重新编辑进入审批流程。
合同的每次跟进都会有记录显示

合同的基本信息

合同的其他信息
这里可以添加合同的客户收货信息,发送物流信息以及回执单信息

合同的其他信息也可以在这里找到

打印

审核通过之后可以打印

回款信息

回款计划

新增回款

操作记录
每次操作之后都会产生记录,方便查看

终止合同
终止合同之后合同就会呈现一个作废费状态,其他的信息就不可以填写


发送短信
发送短信需要:注意要在系统管理 > 应用管理开通通知短信的套餐


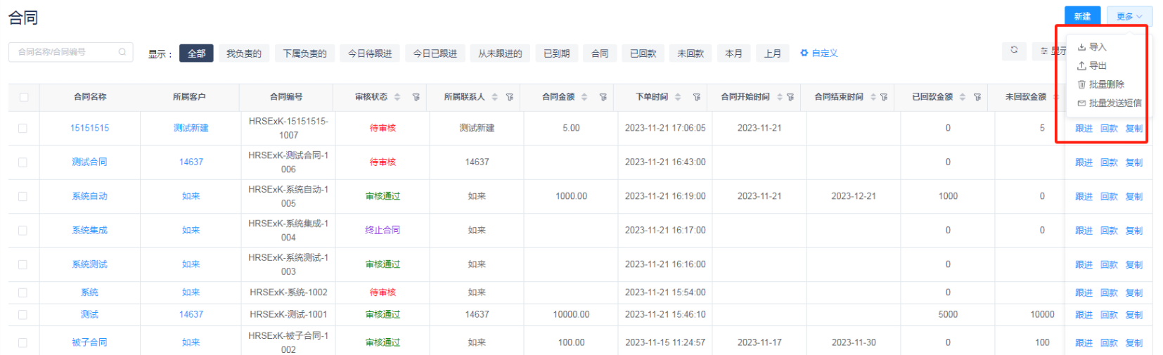
5)合同列表
可以通过搜索合同名称、编号或者选择下属进行筛选查看,或者通过高级筛选进行搜索。列表右下方可查看合同金额、回款金额、未回款金额的数据合计。

支持导入、导出、更换负责人、批量删除、以及批量发送短信,注意:处于审批中、审批通过的合同不能删除、发送短信需要购买套餐。


导入需要注意可以先下载模板

导出可以根据需要导出 不一定全部导出








