商机
所谓的商机就是销售机会,销售人员在与客户沟通的过程中,发现了客户的购买意向,从而推动客户从意向到实际购买的这个过程就是商机管理。该模块对商机不同阶段进行分类、跟进,快速了解商机动态的同时, 助您多维度、跨销售结构地高效管理商机。点开商机版块,默认显示所有已创建商机。新用户点击右上角“新建商机”即可创建。
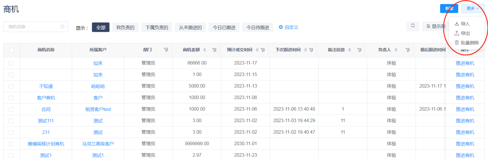
商机列表
列表头部字段 每个字段可按照各自的条件筛选数据

1)新建商机

①商机名称:客户需要购买的产品信息
②客户名称:点击后即显示“客户管理”版块中用户已添加的客户信息,点击选择即可将客户与此处的商机关联。
③商机金额:可根据下方产品价格、数量等自动换算。也可不添加产品信息直接输入金额。
④添加产品:点击即打开在“产品”模块中所有的产品别类,同时支持新建产品,设置产品自定义显示列,新建详情可查看产品阶段介绍。
⑤新建商机面板选项可由管理员在客户管理>商机>新建进行配置,内容包括选项名称(如商机名称可改为商机内容,或添加/移除选项名称等)、是否必填(比如备注设为必填后,在新建商机时,未填写备注则无法保存该商机信息)、是否唯一(比如商机名称选项设置为唯一后,则不能出现重复的商机名称,若未设置,则可重复)、填写形式(比如商机金额选项,可设置为选择项目,即点击出现数字选择框,或者设置为填写项目,手动输入具体金额)等。
2)商机场景
全部商机:当前系统用户作为负责人的商机与当前系统用户作为团队成员的商机。
我负责的商机:当前系统用户作为负责人的商机,商机的创建人默认为该商机的负责人,若需更改,可在商机列表中选中该商机,点击“转移”进行负责人变更。
下属负责的商机:在企业组织架构中为当前系统用户的下属作为负责人的商机,若负责人有多个下属,则显示所有下属所负责的所有商机。

场景自定义 可排列场景顺序,可控制场景的显示与隐藏,可根据自己的条件来创建场景

是否同步员工:开启后只有管理员可以配置搜索项,员工同步管理员的配置,未开启则员工可以自己配置。
自定义场景案例(赢单:只展示赢单的数据)

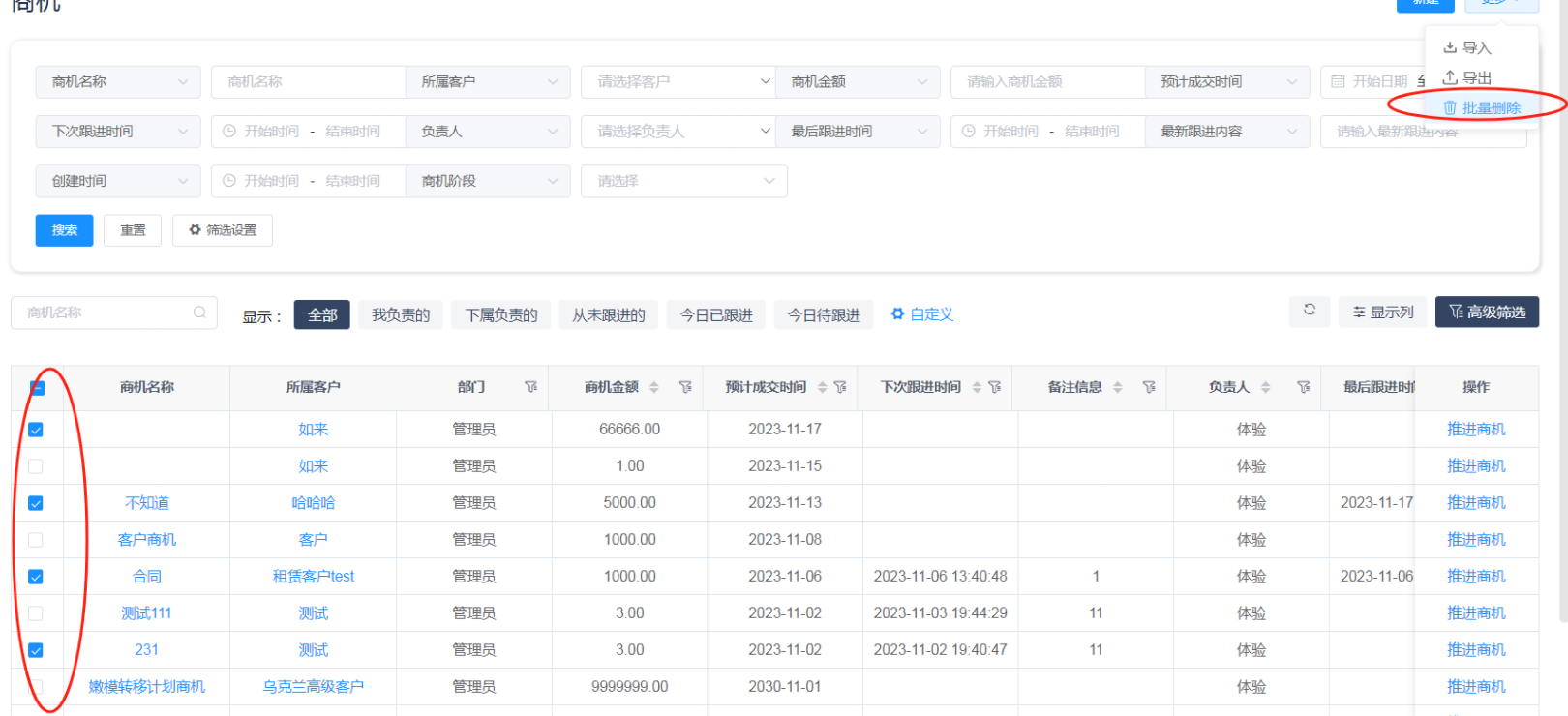
3)高级筛选

在搜索框输入想要查找的商机名称或其他字段,点击筛选设置可配置搜索项,符合条件的商机信息则展示在下方的客户列表中。

是否同步员工:开启后只有管理员可以配置搜索项,员工同步管理员的配置,未开启则员工可以自己配置。
4)操作栏
①可对商机进行批量删除、导入、导出。

②导出选中:选中商机点击导出选中后,您可选择有关该商机的信息与导出的文件类型。点击“立即导出”则可下载至本地。

③删除:点击即可删除该商机的数据信息,但若该商机有关联的合同、产品等相关数据,则无法删除,需要依次将其关联数据全部删除后,即可成功删除该联系人。

④导出:
1.可选中需要导出的字段,按选中导出
2.可选中其中几条数据导出
3.全部导出数据

5)商机详情—详细资料

①此处与新建商机时的面板信息同步,您可对该部分信息进行编辑,鼠标移至具体信息项后,点击即可编辑。
②系统信息部分内容随相关操作自动生成,不可编辑。
6)商机详情—产品

① 产品:此处显示的是新建商机时关联的产品信息。如需编辑,可在此点击产品名称显示详情页面,点击右上角编辑即可添加或删除相关产品。







